Jim Posted May 16, 2018 Posted May 16, 2018 3 minutes ago, agrof said: Interesting control though, but I miss the connections to build custom controllers (joystick, whatever) - as it was possible with the old controller. There are studs, so it is possible, but you will need to be creative. Quote
agrof Posted May 16, 2018 Posted May 16, 2018 Sure, but f.e. to rotate the control buttons you will need a quite bulky design which slide on both sides, instead of a pinhole / axle hole connection. BUT - if this controller will be super handy, I can easily accept this - assumed for now - handicap. Quote
Jim Posted May 16, 2018 Posted May 16, 2018 1 minute ago, agrof said: Sure, but f.e. to rotate the control buttons you will need a quite bulky design which slide on both sides, instead of a pinhole / axle hole connection. BUT - if this controller will be super handy, I can easily accept this - assumed for now - handicap. I reckon there will be a new PF remote for Technic sets, with the new technology, but with (more or less) the old form factor. Quote
zweihander Posted May 16, 2018 Posted May 16, 2018 (edited) So is the rotation purely mechanical to be able to use the buttons sideways/upside down? I would be pleasantly surprised if it was electronical and tied to another channel to allow four channels to be used by a single remote. edit: But then again it would be weird to use the buttons while the rotation axis is at a weird angle or upside down, so I guess I wouldn't be as pleasantly surprised as I initially thought. Edited May 16, 2018 by zweihander answered my own question Quote
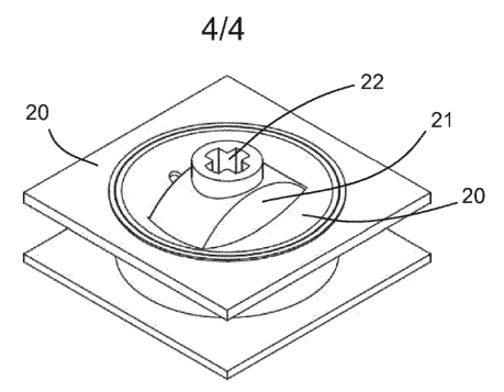
Cwetqo Posted May 16, 2018 Posted May 16, 2018 Remember the patent? Remote can be turned: Technic variant: And other options. I hope second and third will include some sort of proprotional control. Quote
Jim Posted May 16, 2018 Posted May 16, 2018 1 minute ago, Cwetqo said: Remember the patent? Remote can be turned: That looks nice! I love the different controls. Would be cool if TLG actually implemented those. Quote
TechnicRCRacer Posted May 16, 2018 Posted May 16, 2018 Meh, I liked the old train remote better. 1 hour ago, Jim said: I reckon there will be a new PF remote for Technic sets, with the new technology, but with (more or less) the old form factor. I hope so! Quote
Bublehead Posted May 16, 2018 Posted May 16, 2018 I always look forward to new Lego motors, controllers, and PF components because they usually provide some new way of using them that the old systems could not. HOWEVER, I have so much PF flotsam and jetsam in my collection that is no longer used that it is the one thing in Lego that doesn’t “play well” over time. I have 25 year old Lego that still works, but the motors and battery sticks, the wires, the lights... they just take up storage space Quote
3797 Posted May 16, 2018 Posted May 16, 2018 9 minutes ago, Bublehead said: I have 25 year old Lego that still works, but the motors and battery sticks, the wires, the lights... they just take up storage space As long as you don't have to store boxes full of 4.5V Train/Basic motors. I think I have close to 20 of those and never really used any of them. Quote
Dalafik Posted May 16, 2018 Posted May 16, 2018 TLG has reinvented the wheel. Instead of taking the time-proven design of either RC controller or even gamepad, they decide to avoid royalty payments by making a dubious solution of their own. 5 hours ago, zweihander said: But then again it would be weird to use the buttons while the rotation axis is at a weird angle or upside down, so I guess I wouldn't be as pleasantly surprised as I initially thought. Exactly my thought. Quote
Philo Posted May 16, 2018 Posted May 16, 2018 6 hours ago, LegoMonorailFan said: He also said that connector is NOT compatible with Boost, but EV3. This is extremely surprising, if only because the new Boost/Wedo 2 motors are named "...lpf2" (LEGO Power Functions 2): https://brickset.com/search?query=lpf2&scope=All Quote
Maaboo the Witch Posted May 16, 2018 Posted May 16, 2018 (edited) Yeah. What exactly were TLG thinking when they designed this? It looks awkward and counterintuitive. Edited May 16, 2018 by Maaboo35 Quote
Paperballpark Posted May 16, 2018 Posted May 16, 2018 ^ yeah, it's not like they wouldn't have done ANY product testing with the target age group, or anything like that, is it? Quote
Bublehead Posted May 16, 2018 Posted May 16, 2018 (edited) I think TLG has not given us any indication where they want to go with FP2 in conjunction with Mindstorms, Wedo, or Boost. Most educational usage of motors do not tax them like they are taxed when used in Technic consumer sets, and they are looking at ways of producing cheaper alternatives to the PF motors and IR controllers that may also be used in Mindstorms, WeDo, and Boost type applications. I don’t think we will see any improvement over the current motor lineup, and the transmitter seems to be heading towards meeting both train and non-train applications with a single solution (at least internally) even if the external controls may differ from train sets to Technic sets. Just my opinion. Edited May 16, 2018 by Bublehead Quote
Maaboo the Witch Posted May 16, 2018 Posted May 16, 2018 16 minutes ago, Paperballpark said: ^ yeah, it's not like they wouldn't have done ANY product testing with the target age group, or anything like that, is it? I stand by my opinion. Those buttons look much less flexible and accessible than sticks. Quote
kbalage Posted May 16, 2018 Posted May 16, 2018 13 minutes ago, Maaboo35 said: I stand by my opinion. Those buttons look much less flexible and accessible than sticks. Well they didn't have sticks for trains either previously... let's wait and see what controllers will be provided for the Technic sets. Quote
Maaboo the Witch Posted May 16, 2018 Posted May 16, 2018 Just now, kbalage said: Well they didn't have sticks for trains either previously... let's wait and see what controllers will be provided for the Technic sets. I don't see why the current Technic remote needs replacing. You can pair it up with other types of remote if you want additional options. Quote
zux Posted May 16, 2018 Posted May 16, 2018 1 hour ago, Philo said: This is extremely surprising, if only because the new Boost/Wedo 2 motors are named "...lpf2" (LEGO Power Functions 2): https://brickset.com/search?query=lpf2&scope=All Hope it is not going to be something new yet again, like PF2.1 or jumping straight to PF3 and considering PF2 to be a mistake or so. Quote
kbalage Posted May 16, 2018 Posted May 16, 2018 4 minutes ago, Maaboo35 said: I don't see why the current Technic remote needs replacing. You can pair it up with other types of remote if you want additional options. PF 1.0 was around for more than 10 years, before that there were again different motors/controllers/etc (like a train controller with buttons). I suppose it happens every time when Lego tries to upgrade the system but I wouldn't say immediately "no" to the new stuff just because we got used to the old one. The possibility to turn the button section of the train remote seems to be interesting and useful, I hope there'll be something similarly good coming for Technic sets as well. Quote
Maaboo the Witch Posted May 16, 2018 Posted May 16, 2018 12 minutes ago, kbalage said: I hope there'll be something similarly good coming for Technic sets as well. I should probably clarify that I'm saying all this in regard to Technic. I just read the quoted passage on the first page and saw that this is likely to be used only in train-specific sets. For that it's probably splendid, but that topic is for somebody else to discuss. Quote
Omikron Posted May 16, 2018 Posted May 16, 2018 (edited) 2 hours ago, Paperballpark said: ^ yeah, it's not like they wouldn't have done ANY product testing with the target age group, or anything like that, is it? Sometimes this actually happens. Bare with me as I have examples! There is this company called Virgin Galactic which designed a tourist spaceship with unique pivot wing. To skip right to the case - when the ship accelerates the aerodynamic forces can pivot the wing if it is unlocked which will cause the ship to sudden surprise self disassembly into irregularly shaped parts right in the air . It is safe to unlock the wing pivot only after reaching 1.4 mach. In an obvious manner we can assume that the "unlock switch" can only be switched either in test mode or after reaching 1.4 mach. Guess what - not the case. The switch could be switched at any speed, there was no safety built in which caused loss of the co-pilot's life and the ship and a slowdown in a cosmic tourism. Or a more grounded example - iPhone's "you're holding it wrong" comedy. One may think that a huge company like Apple which planned to sell millions of devices surely had a focus group to test the call function of the device prior to launch. Guess again - they had to redesign the antenna eventually. Or another one from the same corp. - "We observed that people are holding a phone either in their hand or charging it 99% of the time so there is no need to make structurally strong frame to prevent the phone bending in a pocket." I think you know what happened next... Sometimes the focus group is an awful representation of targeted customers. Looking at new controller I see this: Only if TLG allowed the thing to rotate in full 360 any direction. But If they allowed only 90 degree increment turns in half a circle clockwise or counterclockwise so the minus is never up and plus is never down - maybe it's ok. + or + | or | + -- I almost feel a deja vu from videogames when playing in thirdperson with gamepad sometimes makes you to rotate the camera 180 degrees and if you where moving at the time - your "up or forward" became "down or backward" and you actually have to stop moving and re-engage controls or reset the camera back so your brain won't be confused. I'm nearly 100% certain this happens near the places you can fall off of or loose a battle or something. Edited May 16, 2018 by Omikron Quote
technic70s Posted May 17, 2018 Posted May 17, 2018 14 hours ago, LegoMonorailFan said: Quote At the moment, the new PF-Power element are stricktly related to the train.There is the new battery pack, which is quite similar to the previous one, besde the fact it is also the "receiver" for the Bluetooth.There is the new train motor, which is quite similar to the previous one too BUT with the new cable, which is of a RJ (same of Mindostorm and EV3) typeThere is the new remote control which is operate by BluetoothThere is an APP (both for iOS and Android) which is still work-in-progress and which will let you to control the train via smartphone or tablet, like the one that has already been developed and released for DUPLO train Courtesy of my fellow ambassador Francisco Frangioa from BrianzaLUG, who saw those at fair in Milano, Italy. He also said that connector is NOT compatible with Boost, but EV3. 1 Frangioa has since stated he isn't 100% sure what type of connector is used, he didn't look at it that closely. Quote
Tommy Styrvoky Posted May 17, 2018 Posted May 17, 2018 (edited) I wonder if when you rotate the switches to a certain angle, they would be removable like for a modular system with interchangeable inputs, that would make sense, as with the previously mentioned patient that would make sense. Maybe this would also allow for you to rotate them 90 degree and work, as that would be cool too for steering models Edited May 17, 2018 by Tommy Styrvoky Quote
BusterHaus Posted May 18, 2018 Posted May 18, 2018 (edited) This new Powered Up line will consist of multiple products that vary in complexity, instead of one set that can be used to build multiple things. Some sets might only be battery-powered, while others could be remote-controlled or app-controlled. Some of this functionality will ship with the sets, although kids will be able to buy additional accessories that’ll add features to their builds. This new Batmobile can be controlled through two pre-built remote interfaces on the companion Powered Up iOS / Android app or through a remote that users personalize with sliders and buttons. A new coding interface will also be released later this year so kids can code speed, direction, sound, and duration to create new stunts and movements. https://www.theverge.com/circuitbreaker/2018/5/17/17365328/lego-powered-up-batmobile-connected-set Edited May 18, 2018 by BusterHaus Quote
Omikron Posted May 18, 2018 Posted May 18, 2018 (edited) 12 hours ago, BusterHaus said: can be controlled through two pre-built remote interfaces on the companion Powered Up iOS / Android app or through a remote that users personalize with sliders and buttons. A new coding interface will also be released later this year so kids can code speed, direction, sound, and duration to create new stunts and movements. This sounds so sad - seems like a lot of gearing and stuff will no longer be required. I mean before that we relied on mechanical implementations of functions like gearing up or down to control speed or making motorized switches and valves, used springs and rubber bands to mimic servo's work but this new approach means that all will be done digitally by software. It certainly has some upsides and downsides. For example with digital control you can get rid of a lot of parts and make model more compact and lightweight. UPS - compact and lightweight, possible programing ability DOWNS - get rid of a lot of parts I mean I sometimes buy technic sets just because they have all this gearboxes inside them for example I bought Unimog just to admire mechanical aspect and boy do you people remember 8043 gearbox? What a beauty it is. I'm excited to see how this one will turn out Edited May 18, 2018 by Omikron Quote
Recommended Posts
Join the conversation
You can post now and register later. If you have an account, sign in now to post with your account.