David Thomsen Posted November 9, 2010 Posted November 9, 2010 For a while now I've been concerned about what will happen when they design four corner buildings and form a complete city block. Eventually you'll be forced to start another block. Personally, I want all my modular buildings to be part of the same city block, but the only way to do this and still have corner buildings would be to design a buildling to fit on an inside corner, something like this: The problem would be that whereas other modular buildings have one or two sides facing outwards, this design would only have a very narrow piece of architecture in between two large blank walls that are supposed to be hidden next to other modular buildings. And then I realised that I was assuming this building would be intended to be looked at from the street. What if what is normally the rear wall became the main design? Instead of the building 'fronting' onto the pavement, it could front onto a garden. Not only will this enable a more elaborate L or even potentially T shaped block, but they can design a building with something other than grey pavement in front of it. Maybe it could be a residential building with a lawn in front of it, maybe a school with a playground... Of course, it will still take another four years to make a complete rectangular block if they continue to release one modular building a year, so it isn't an urgent problem... but is it something you would like to see them do, eventually? Quote
prateek Posted November 9, 2010 Posted November 9, 2010 I've been thinking about this myself for a long time. As a matter of fact, I've seen a few MOCs like this. We'll just have to wait and see if Lego makes one. Quote
Hinckley Posted November 9, 2010 Posted November 9, 2010 It's not the only way to do it. Buildings can just come down to the one end and have an alley in between. I can't say inside corner buildings are that common. I'm sure this post will be followed by tons of pictures of examples. But I'm not accustomed to them in the cities I've lived in, unless they are part of condominium or apartments complexes. And I've always imagined my City layout would have all outside corners with roads and intersections stopping them from ever forming a cul de sac. I hope you find a good solution and I'm not trying to pull the creative rug out from underneath you. I'm sure this will spark a lot of creativity and great design. I just think it's a lot of effort, for little design place, and personally would concentrate my efforts on buildings with greater facade space to design. Quote
Peppermint_M Posted November 9, 2010 Posted November 9, 2010 Well, I have seen a few "outside" corners, where the buildings are facing out in a square, with a large park, garden or square behind them. Corners with only a small amount of frontage are also around, but I have not seen on personally, only in pictures of places I haven't been. The residential sections of old cities are a hodge-podge of buildings have plenty of examples and even "odder" (I suppose, from a colonial point of view) town planning. In the old country we weren't as linear... Quote
Cwetqo Posted November 9, 2010 Posted November 9, 2010 From our LUG member: Rear side (barely visible on layout) Quote
Locutis Posted December 17, 2010 Posted December 17, 2010 For a while now I've been concerned about what will happen when they design four corner buildings and form a complete city block. Eventually you'll be forced to start another block. Personally, I want all my modular buildings to be part of the same city block, but the only way to do this and still have corner buildings would be to design a buildling to fit on an inside corner, *SNIP* I'm going to try this and see how it works. I'll post pictures back to here when I complete it. Quote
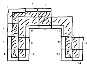
erik530195 Posted December 17, 2010 Posted December 17, 2010 Maybe im just acting dumb here,but I dont exactly get what this topic is all about. Quote
Locutis Posted December 17, 2010 Posted December 17, 2010 Maybe im just acting dumb here,but I dont exactly get what this topic is all about. Attached is a top-down sample view. Buildings 1, 13, 14 could be Grand Emporium buildings. Buildings 2, 3, 4, 5, 8, 12, 15, are Green Grocer/Fire Brigade style modulars. Buildings 6 and 7 are Cafe Corners. Now, what we're talking about for inside-corner is buildings 9 and 11. Make sense now? Quote
Recommended Posts
Join the conversation
You can post now and register later. If you have an account, sign in now to post with your account.